远程服务器返回错误: (404) 未找到。

【产品用途】
集团生产的铸钢法兰闸阀广泛适用于石油化工,火力发电厂等油品、水蒸气管路上作接通或截断管路中介质的启闭装置
【产品特点】
1、结构紧凑、设计合理、阀门刚性好、通道流畅,流量系数小
2、密封面采用不锈钢和硬质合金,使用寿命长
3、采用柔性石墨填料、密封可靠,操作轻便灵活
4、驱动方式为手动、气动、电动、齿轮传动
5、结构形式为弹性楔式单闸板、刚性楔式单闸板双闸板型式
【执行标准】
设计规范:GB/T 12234
结构长度:GB/T 12221
连接法兰:JB/T 79.1
试验与检验:JB/T 9092
压力-温度:GB/T 9131
产品标识:GB/T 12220
【性能参数】
|
公称压力PN(MPa) |
壳体 |
试验压力(MPa) |
上密封 |
|
|
密封(液) |
密封(气) |
|||
|
1.6 |
2.4 |
1.8 |
0.6 |
1.8 |
|
2.5 |
3.8 |
2.8 |
0.6 |
2.8 |
|
4.0 |
6.0 |
4.4 |
0.6 |
4.4 |
|
6.4 |
9.6 |
7.0 |
0.6 |
7.0 |
|
10.0 |
15.0 |
11.0 |
0.6 |
11.0 |
|
16.0 |
24.0 |
18.0 |
0.6 |
18.0 |
【适用介质和适用温度】
|
壳体材料 |
适用介质 |
适用温度(℃) |
|
碳素钢(C型) |
水、蒸汽、油品 |
≤425 |
|
铬镍钛钢(P型) |
硝酸类 |
≤200 |
|
铬镍钼钛钢(R型) |
醋酸类 |
≤200 |
|
铬钼钢(I型) |
水、蒸汽、油品 |
≤550 |
【主要零件材料】
|
阀体、阀盖 |
阀板、阀座 |
阀杆 |
阀杆螺母 |
填料 |
手轮 |
|
碳素钢 |
优良碳钢+硬质合金或不锈钢 |
铬不锈钢 |
铝青铜 |
石墨石棉盘根 |
可锻铸铁 |
|
铬镍钛钢 |
不锈钢、不锈钢+硬质合金 |
铬镍钛不锈钢 |
铝青铜 |
聚四氟乙烯 |
可锻铸铁 |
|
铬镍钼钛钢 |
不锈钢、不锈钢+硬质合金 |
铬镍钛不锈钢 |
铝青铜 |
聚四氟乙烯 |
可锻铸铁 |
|
铬钼钢 |
合金钢+硬质合金 |
铬钼钢 |
铝青铜 |
柔性石棉 |
可锻铸铁 |
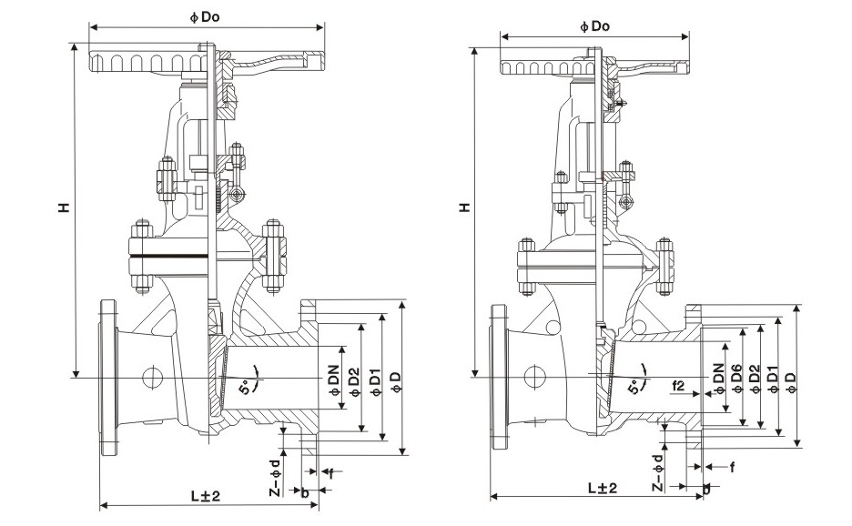
【主要外形和连接尺寸】
|
公称通径 |
主要外形尺寸和连接尺寸 |
|||||||
|
L |
D |
D1 |
D2 |
b |
Z-d |
H |
D0 |
|
|
Z41H-16C |
||||||||
|
15 |
130 |
95 |
65 |
45 |
14-2 |
4-Φ14 |
170 |
120 |
|
20 |
150 |
105 |
75 |
55 |
14-2 |
4-Φ14 |
190 |
140 |
|
25 |
160 |
115 |
85 |
65 |
14-2 |
4-Φ14 |
205 |
160 |
|
32 |
180 |
135 |
100 |
78 |
16-2 |
4-Φ18 |
270 |
180 |
|
40 |
200 |
145 |
110 |
85 |
16-3 |
4-Φ18 |
310 |
200 |
|
50 |
250 |
160 |
125 |
100 |
16-3 |
4-Φ18 |
358 |
240 |
|
65 |
265 |
180 |
145 |
120 |
18-3 |
4-Φ18 |
373 |
240 |
|
80 |
280 |
195 |
160 |
135 |
20-3 |
8-Φ18 |
435 |
280 |
|
100 |
300 |
215 |
180 |
155 |
20-3 |
8-Φ18 |
500 |
300 |
|
125 |
325 |
245 |
210 |
185 |
22-3 |
8-Φ18 |
614 |
320 |
|
150 |
350 |
280 |
240 |
210 |
24-3 |
8-Φ23 |
674 |
360 |
|
200 |
400 |
335 |
295 |
265 |
26-3 |
12-Φ23 |
811 |
400 |
|
250 |
450 |
405 |
355 |
320 |
30-3 |
12-Φ25 |
969 |
450 |
|
300 |
500 |
460 |
410 |
375 |
30-3 |
12-Φ25 |
1145 |
580 |
|
350 |
550 |
520 |
470 |
435 |
34-4 |
16-Φ25 |
1280 |
640 |
|
400 |
600 |
580 |
525 |
485 |
36-4 |
16-Φ30 |
1452 |
640 |
|
Z41H-25 |
||||||||
|
15 |
130 |
95 |
65 |
45 |
16-2 |
4-Φ14 |
170 |
120 |
|
20 |
150 |
105 |
75 |
55 |
16-2 |
4-Φ14 |
190 |
140 |
|
25 |
160 |
115 |
85 |
65 |
16-2 |
4-Φ14 |
205 |
160 |
|
32 |
180 |
135 |
100 |
78 |
18-2 |
4-Φ18 |
270 |
180 |
|
40 |
200 |
145 |
110 |
85 |
18-3 |
4-Φ18 |
310 |
200 |
|
50 |
250 |
160 |
125 |
100 |
20-3 |
4-Φ18 |
358 |
240 |
|
65 |
265 |
180 |
145 |
120 |
22-3 |
8-Φ18 |
373 |
240 |
|
80 |
280 |
195 |
160 |
135 |
22-3 |
8-Φ18 |
435 |
280 |
|
100 |
300 |
230 |
190 |
160 |
24-3 |
8-Φ23 |
500 |
300 |
|
125 |
325 |
270 |
220 |
188 |
28-3 |
8-Φ25 |
614 |
320 |
|
150 |
350 |
300 |
250 |
218 |
30-3 |
8-Φ25 |
674 |
360 |
|
200 |
400 |
360 |
310 |
278 |
34-3 |
12-Φ25 |
811 |
400 |
|
250 |
450 |
425 |
370 |
332 |
36-3 |
12-Φ30 |
969 |
450 |
|
300 |
500 |
485 |
430 |
390 |
40-4 |
16-Φ30 |
1145 |
580 |
|
350 |
550 |
550 |
490 |
448 |
44-4 |
16-Φ34 |
1280 |
640 |
|
400 |
600 |
610 |
550 |
505 |
48-4 |
16-Φ34 |
1452 |
640 |
【结构图片】

